Prediction of Occurrence of Fires in Forest using Machine Learning

Project Code :TCMAPY984

Objective

The primary goal of this project is to determine whether to know the fire will occur or not given weather features like oxygen, temperature and humidity. To know this, we used the machine learning based methods such as Random Forest Classifier, Decision Tree Classifier and other classification techniques to figure out whether the fire will occur or not

Abstract

Forest Fire Prediction is a key component of forest fire control. This is a major environmental problem that creates ecological destruction in the form of a threatened landscape of natural resources that disrupts the stability of the ecosystem, increases the risk for other natural hazards, and decreases resources such as water that causes global warming and water pollution. Fire Detection is a key element for controlling such incidents.

Prediction of forest fire id expected to reduce the impact of forest fire in the future. Forest fire prediction constitutes a significant component of forest fire management. It plays a major role in resource allocation, mitigation and recovery efforts. This paper presents a description and analysis of forest fire prediction methods based on artificial intelligence. Based on decision trees and random forest is presented. The algorithm depends on previous weather conditions in order to predict the fire will occur or not. The implementation of the algorithm using data from Lebanon demonstrated its ability to accurately predict the hazard of fire occurrence.

This paper discusses about a comparative study of different models for predicting forest fire such as Decision Tree, Random Forest.

Key Words—Decision Tree, Random Forest, Forest Fire Prediction, Classification

NOTE: Without the concern of our team, please don't submit to the college. This Abstract varies based on student requirements.

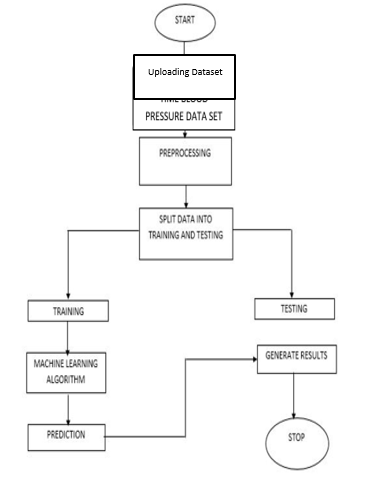
Block Diagram

Specifications


H/W CONFIGURATION:

Processor: I3/Intel Processor

RAM : 8GB (min)

Hard Disk: 128 GB

Key Board: Standard Windows Keyboard

Mouse    : Two or Three Button Mouse

Monitor : Any

S/W CONFIGURATION:

Operating System: Windows 7+

Server-side Script: Python 3.6+

IDE : Colab 

Libraries Used: Pandas, Numpy, Scikitlearn, tensorflow, 


Demo Video

mail-banner
call-banner
contact-banner
Request Video